交直流阻容分壓器測量操作步驟
揚州金力電氣專業生產交直流阻容分壓器,接下來為大家分享交直流阻容分壓器測量操作步驟。
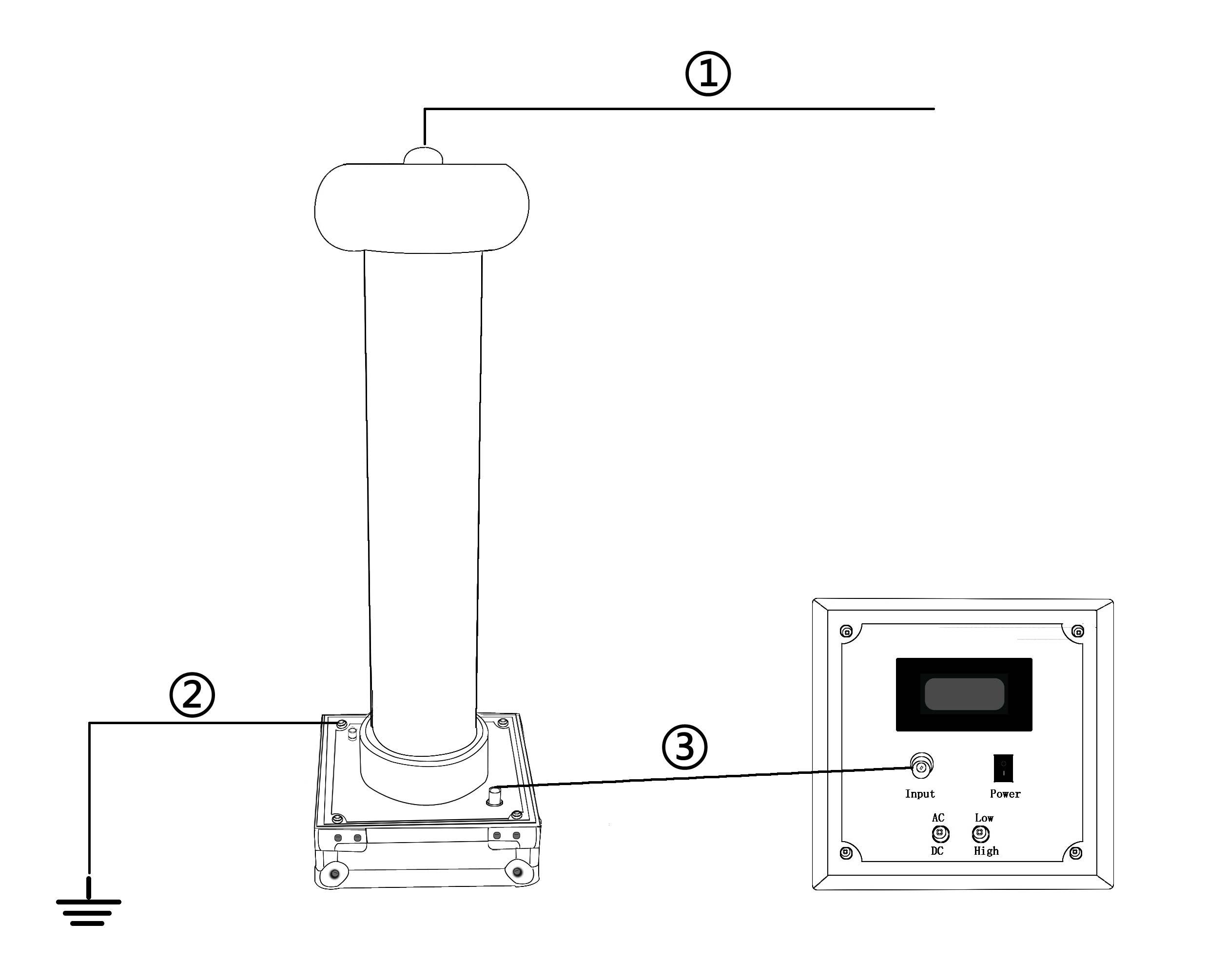
1、正確接線:
按圖所示接線方法正確接線。高壓輸入接均壓球頂端接線柱,接地柱通過儀器配套接地線連接到大地,高壓分壓器和低壓顯示表通過儀器配套同軸電纜連接。連接好后,檢查連線,確認無誤后,選擇相應的檔位和量限即可開始測量。

注意:本儀器配有配套接地線,高壓分壓器底座上裝有接地柱,每次使用前都必須將接地柱可靠接地。高壓測試線盡量用耐高壓導線,測試線必須架空,不得拖地或離地面太近。高壓分壓器和低壓顯示表至少相距兩米以上,測試人員做試驗時,一定不得靠近高壓分壓器(AQ距離兩米以上)。
2、工頻高壓測量:
正確接線后,打開低壓顯示表“Power”開關,將功能開關切換至AC檔,選擇High檔,即可測量工頻高壓,液晶示值即為被測工頻高壓值。如測量電壓低于20kV,可將功能開關切換至Low檔,以獲得更高的測量精度。測試完畢后,切斷高壓,等低壓顯示儀表歸零后方可進入現場(交流測試時,儀表會緩慢回零,但高壓電源可能已經沒有電了)。
3、直流高壓測量:
正確接線后,打開低壓顯示表“Power”開關,將功能開關切換至DC檔,選擇High檔,即可測量直流高壓,液晶示值即為直流高壓值。如測量電壓低于20kV,可將功能開關切換至Low檔,以獲得更高的測量精度。測試完畢后,切斷高壓,等低壓顯示儀表歸零后方可進入現場。注意:在測量直流時,因有濾波電容存在,測試完畢必須先放電才可靠近高壓分壓器。
4、高壓分壓器單獨使用:
本公司為了滿足客戶的實際要求而設計,高壓分壓器可以獨立使用,用市面上普通的萬用表即可代替低壓顯示表。高壓分壓器分壓比是1000:1,萬用表示值乘以1000就等于被測高壓電壓值。即萬用表示值的單位換成kV即可。
揚州金力電氣有限公司是直流高壓發生器、無線高壓核相儀、大電流發生器、試驗變壓器、直流電阻測試儀、回路電阻測試儀、絕緣電阻測試儀、全自動變比測試儀、高壓開關機械特性測試儀、電纜故障測試儀、絕緣油介電強度測試儀、氧化鋅避雷器測試儀、避雷器放電計數器校驗儀、超低頻高壓發生器、變頻互感器綜合測試儀、接地引下線導通測試儀、接地線成組直流電阻測試儀、微機繼電保護測試儀、變頻串聯諧振試驗裝置、絕緣靴手套耐壓試驗裝置、等電力測試儀器專業生產廠家!




首頁
電話
產品